Aufgrund der enorm hohen Anforderungen an die Sicherheit der heutigen IT-Infrastrukturen und der Komplexität moderner Softwaresysteme ist es notwendig, sorgfältig zu planen und zu implementieren.
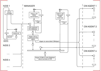
Wir modellieren Software mithilfe der Fundamental Modelling Concepts (FMC*), welche am Hasso-Plattner-Institut (HPI) entwickelt wurden. FMC liefert einen industriellen Standard zur Modellierung von komplexen Software-Systemen:

Nur durch präzise Planung und sorgfältige Modellierung kann auch gewährleistet werden, dass unsere Sicherheitskomponenten den Schutz bieten, den unsere Kunden benötigen.